广东一地不锈钢直饮水管网建设项目备案通过
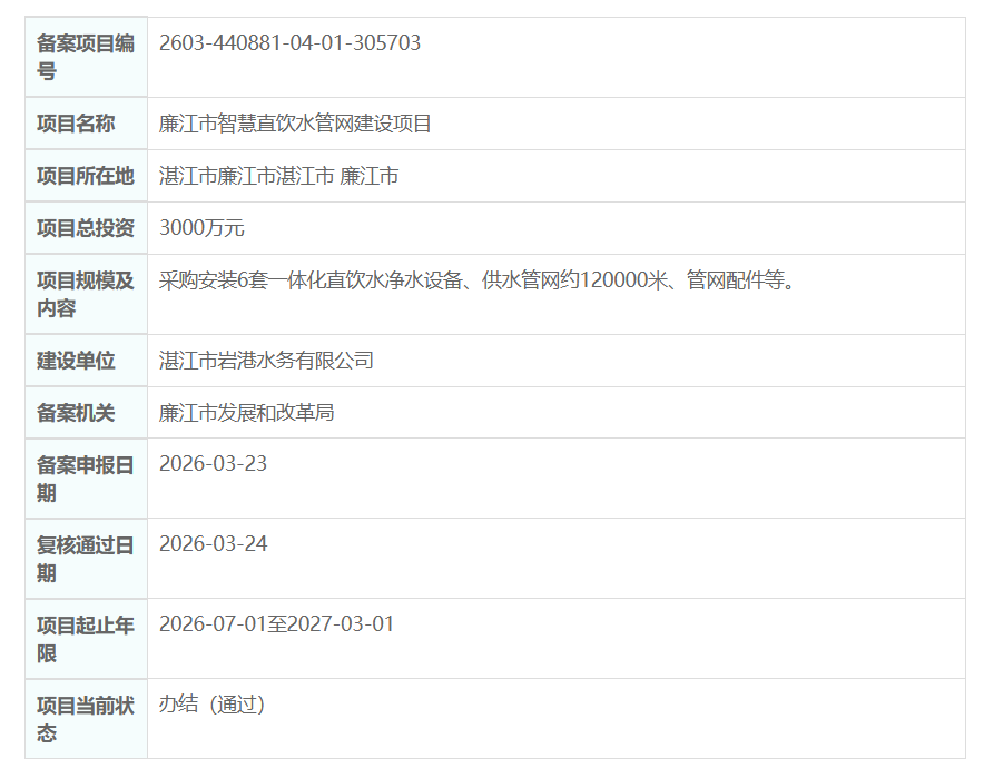
3月24日,廉江市智慧直饮水管网建设项目备案复核通过,总投资3000万元,项目位于廉江市区。
项目采购安装6套一体化直饮水净水设备、供水管网约120000米、管网配件等。
建设单位为湛江市岩港水务有限公司,具体备案内容如下:
上一篇:一中企加码投资印尼镍项目
下一篇:返回列表
3月24日,廉江市智慧直饮水管网建设项目备案复核通过,总投资3000万元,项目位于廉江市区。
项目采购安装6套一体化直饮水净水设备、供水管网约120000米、管网配件等。
建设单位为湛江市岩港水务有限公司,具体备案内容如下:
上一篇:一中企加码投资印尼镍项目
下一篇:返回列表